Hírek:

Fontos tudnivalók a migrációval kapcsolatban, Kérlek nézd meg a Régi fórumról új fórumra való költözés

Kedves Kollégák!

2026.04.18-án szombaton ismét megrendezésre kerül a debreceni Hobby CNC találkozó.
Egy kis nosztalgia, múltidézés, tudás megosztás, és minden ami szokásos volt eddig is a találkozókon.
A változatlanul a korábbi találkozók helyszíne lesz ismét az otthona a rendezvénynek.
Debreceni Képző Központ Nonprofit Kft.
Debrecen Budai Ézsaiás 8/A
 

Main Menu

Lézer

Indította gaben, 2025 február 03, 18:31

Előző téma - Következő téma

pv6cdvuc7

Igen biztos szinkronban kéne lenni.Eddig abban is volt, csak lassú a kopogtatás.Nem úgy mint ezen.



De van 1 kis lemez relém az is 24 voltos na azt rátettem csak úgy kipróbálásként egy 12 voltos váltóáramra, és úgy elég gyorsan rezeg lemerném fogadni hogy 50-60 Hz-el[#vigyor4]. A nagy relét meg gondolom triákkal kéne vezérelni ha váltó árammal hajtatnám,nem FET-el- nem biztos-

Szalai György

Amennyire emlékszem, ezt valami egész más szerkezettel szokták, mit egy relé tekercs.

A fel-le kalapáló munkatengelyen gyűrű mágnesek vannak egymás fölött sorban.
Ezeket rángatja mágnesenként egy-egy tekercs egyszerre, a tekercsek párhuzamosan kötve.
A tekercsek egyenáram hatására berántják a mágneseket így csapják le a szerszámot.
Ellenkező polaritású egyenáramtól meg felrántják gyorsan.
Nem rugó emeli vissza, mert az lassú.
A mechanikailag párhuzamosa működő mágnes és tekercs párokra az erő és a sebesség fokozása miatt van szükség.
Egy mágnes és egy tekercs kevéske.

RJancsi

Tudom, hogy nincs gránit kopogtató topic a fórumon, de kicsit belefeledkeztetek abba ami itt nagyon  OFF. Én spec azért nézek be ide időről időre mert a lézer érdekelne. Át kéne költöznötök a semlegesbe vagy nyitni egy köves topicot ha van rá igény. Amúgy kíváncsiságból engem is érdekel a téma csak nem itt.

pv6cdvuc7

Igazad van. Kezdetben úgy indult ,hogy a lézer helyett....Menjünk a vegyesbe.

000000000

1. Szerintem nem kellene szaporítani fölöslegesen a topikokat, így is van több száz halott téma.
2. A semlegesbe totál eltűnne ez a dolog, és attól ez komolyabb témakör.
3. Nagyrészt idevaló, hiszen csak szinte ugyanazzal a kép gravír G kóddal lehet dolgozni, mint a lézernél, az időzítések mások.

nv5firipz

Szerintem egy új topic bőven elfér. Ha nem pörög akkor meg lesüllyed. Legalább egy helyen lesz az infó ami ezzel kapcsolatos.
A lényeg, nem lézer fénnyel dolgozik, tehát nem ide való.

000000000

Egy biztos, sokkal inkább idevaló, mint a semlegesbe.

nv5firipz

Ezért kell nyitni neki egy újat.

zozo

A mágnesgyűrű nem károsodik egy idő után a sok ütés miatt?
Vagy csak a régiek gyengültek az ütéstől és törtek darabosra? Ezek a neodímium meg hasonlók már jobban bírják?

Rabb Ferenc

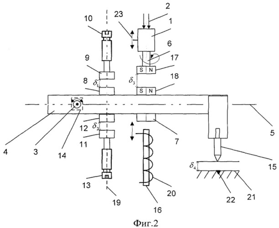
Valami ehhez hasonló konstrukciót próbálj kialakítani. 230V 50Hz-el működik, tehát 100 leütést végez másodpercenként. Szerintem a rövid mozgás utak és a rövid úton záródó mágneskör a gyors rezgés záloga...

    

pv6cdvuc7

Gondolkodtam iskola csengőn is. De ma még próbálkoztam:A nagy relém nem működik váltóáramról.Aztán arra jutottam, hogy a Dotg csinál lassú "Z jelet"vagy ez a relé nem jó ide.
De arra is rájöttem, hogy nem szabad túl nagy felbontást beadni a progiknak, hanem csak olyan 100 dpi körülit(bár ez kép függő is)A videókon általában bazi képeket csinálnak, én meg kicsivel próbálkoztam-lehet ez is 1 ok.

LittleSV

Gagyi hajvágógépekben is hasonlatosan van megoldva a kés mozgatása. De a tetováló gépekben is. Előbbi lehet van otthon a kollégának, utóbbi kialakításáról meg a neten található sok infó.

hduf42fua

"No de az nem csak úgy rezeg a vakvilágba, szinkronban kell legyen az X tengely mozgásával a kép bitjei szerint, nem? "
Svejk !  Hát persze. A Dot G-vel a lézerhez készíthetsz kódot. Ha jól emlékszem van hozzá Mach3-lézer poszt proci
ami a lézert M10, M11-el vezérli. A lézeres kép G- kódjában is így vezérli a lézet. Szeterintem . Ez a kopogtató őse a
Mester Gy mechanikus tükörgravírozója , ahol a páka hegyét melegítette és így kopogtatta ki a tükörképet. Utána lett a Z tengellyel való tükörmarás és utána a diódalézeres.
Mester Gy munkássága erről szól.

PSoft

Lézeresek!

Próbálkozik valaki(rajtam kívül) a LightBurn szoftver Trial verziójával?
Vannak tapasztalatok, jók, netán...rosszak?

designr

Itt van egy rajz..profik igy csinálják.