Hírek:

Fontos tudnivalók a migrációval kapcsolatban, Kérlek nézd meg a Régi fórumról új fórumra való költözés

Kedves Kollégák!

2026.04.18-án szombaton ismét megrendezésre kerül a debreceni Hobby CNC találkozó.
Egy kis nosztalgia, múltidézés, tudás megosztás, és minden ami szokásos volt eddig is a találkozókon.
A változatlanul a korábbi találkozók helyszíne lesz ismét az otthona a rendezvénynek.
Debreceni Képző Központ Nonprofit Kft.
Debrecen Budai Ézsaiás 8/A
 

Main Menu

Esztergálás

Indította gaben, 2024 április 09, 16:02

Előző téma - Következő téma

g89ketty

Ki készít nekem egy ilyet 2-es kuppal?

g89ketty


KoLa

[#eljen] csatlakozom!

A négypofás tokmány jól használható a legtöbb esetben! szinte mindenre jó!

Be tudunk fogni:

 - köranyagot
 - melegen hengerelt ovális köracélt központosan, ahol rezeg a léc hogy kiadja-e az átmérőt
 -hatszög anyagot
 -négyszög anyagot

Kényelmes:

 - a négyszöges hasábok kialakítása
 - a furatok elkészítése ezekben a hasábokban
 - szögben álló hasábok furatolása menetelése
 - az excenteres eltolások lapolása alátétlemezekkel, vagy + pofasorrenddel...

Csak ennyi jutott most eszembe, mert az ezekből adódó variációk meg titkosak, mint tudjuk:)))

- és még meg sem említettük a különpofás tokmányokat

A hárompofás tokmány ezzel szemben csak köranyag, hatszöganyag,és exceteres eltolásoknál használható könnyedén.
Van egy ilyen progi, ami kiszámítja a hárompofás tokmánynál, hogy milyen vastag lemezt kell az egyik pofa alá tenni, bizonyos átmérőnél, a pofa felfekvő szélességét és az excentritást figyelembe véve.
Másik szgépen van, most nem tudom a pontos nevét angolul.

ANTAL GÁBOR

Van egy ilyen progi, ami kiszámítja a hárompofás tokmánynál, hogy milyen vastag lemezt kell az egyik pofa alá tenni, bizonyos átmérőnél, a pofa felfekvő szélességét és az excentritást figyelembe véve.

Én meg úgy szoktam hogy szépen megrajzolom autocadban ( én is figyelembe veszem a pofa szélességet )és aztán a rajzról lemérem a szükséges alátét nagyságát

KoLa

Én is mindenre az AutoCad-et használom, napi szinten mint Te is!
Ez gyorsabb mert, csak kitöltök egy táblázatot és ott a megoldás!
Jut eszembe! lehet hogy a mobilra kéne egy ilyen számoló!

vadember


KoLa

Ez már a múlt! de azért, jó a memóriád!
3 jaw chuck offset calk

  

yy2yggmv7

Üdvözletem.

Van egy kis asztali fúrógépem, (csodás Straus Austria 500W).Mechanikailag gyalázatos kivitelezés, habár a motorja elég erős azzal nincs bajom.
Ami nem tetszik, hogy kotyog az orsó, így 1-es fúróval már kész élvezet fúrni, ha sikerül.
Szétkaptam , megnéztem belülről, két, az öntvényből kialakított keskeny gyűrű kiképzés van amibe csúszkál az orsó, le, fel.
Na ezekben kotyog,kb 0,1-0,2 mm-ert.
Az a kérdésem,mennyire vad ötlet perselyt beletenni?
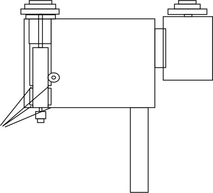
Csináltam egy gagyi rajzot, a nyilak jelzik, hogy mibe csuszkák az orsó.
Az öntvényt is fel kéne fúrni, hogy a persely elférjen, érzésem szerint drága dolog lenne, de nem tudom mennyi, és egyáltalán ki vállalná?


yy2yggmv7

A kép nem lett jó megpróbálom még egyszer.

  

Csuhás

Hasonló fúrónál én elölről felhasítottam kézből egy felx-el az öntvényt, majd egy helyen elfért benne egy összehúzó M8 csavar amivel állítani lehetett. Kellet még a hasítékba egy M5 hernyó csavar ami a nem végig fúrt menet miatt tudta szét feszíteni egy kicsit a házat, így elfogadható kotyogást sikerült beállítanom. Végül egy méh telepi hulladékból készítettem egy normális fúrógépet mert meguntam hogy egy ötös fúróval fúrva is lehajlott az kínai asztala.

yy2yggmv7

Kösz a választ de ennél az eleje annyira közel van az orsóhoz  nem fér el 8-as, de még 6-os csavar sem.
Egyébként nem mindent értettem amit leírtál, a hernyócsavarra gondolok.
Hasonló megoldást régi magyar fúrógépnél láttam, nem tudom a típusát, annak elöl hengeres az öntvényrésze, és az anyagából
van kialakítva az összeszorító rész.

  

Csuhás

A nyíl mutatja a összehúzó csavart, míg a szétfeszítő hernyó csavart bekarikáztam, a felhasítás pedig látszik. Így remélem érthető. Persze lehet hogy azóta sikerült még 20g fémet kispórolni és már nem fér el az összehúzó csavar.

  

ii5d35wcx

Szia !Egy kicsit bonyolult a perselyezés.Ahol a mozgató fogaskerék van ott " ablakot" kell vágni a perselybe.A motorfelújítok hengerfúrójával ,vagy marógépen fúrórúddal megoldható a felfúrás. Utána még kell egy 'szárazpersely' az ablakkal.Présgép amivel besajtolod.Többe kerül mint a fúrógép.

TROMF22

Nagyon jó példát hoztál. Annál a fúrógépnél is van a két (alsó-felső) összeszorító csavaron kívül középen egy ellencsavar.
Ennek számára, csak a hornyolt fél egyik oldalában van menetes furat. Az ebbe behajtott csavar ellentámaszt a szemközti oldalon és megakadályozza hogy a hornyot a két másik csavarral korlátlanul összehúzzuk.
A cél ugyanis az, hogy az orsótest egy minimális játékkal ugyan, de mozgásképes maradjon. Ezt lehet a három (vagy több) csavarral beállítani és kopás esetén után állítani.
Csuhásnál az M5 az ellencsavar.

TROMF22

Á.... most látom a fotón, hogy a Csuhás ellencsavarja a szorítókra merőleges. Mindegy a funkciója ugyanaz.
(Sokáig pötyögtem....)