Hírek:

Fontos tudnivalók a migrációval kapcsolatban, Kérlek nézd meg a Régi fórumról új fórumra való költözés 

Main Menu

Segítség, béna vagyok!

Indította gaben, 2024 április 09, 15:35

Előző téma - Következő téma

fn47xk7ei

Vagy lehetett volna "szegmensív" is ...

  

sufnituning

De ezzel is meg tudná csinálni!:-))

sufnituning


sufnituning

Jó !
Megzavart az ívesítés fog-alma!

Mert ezt nem ívesítésnek hívják, bocs, hogy nem találtam ki.

Én erre gondoltam, ez derékszögben van ívesítve.

  

Dezső

Szia Robi!
Ha Pesten jársz, pontosabban a 16kerbe én meg ívelem neked!
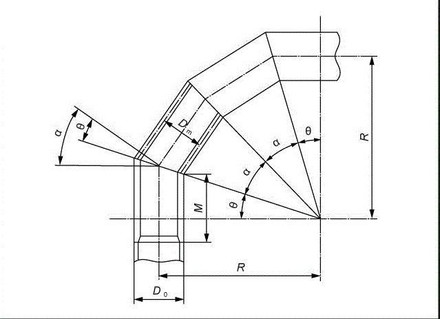
Milyen rádiusszal kell?

üdv.
Dezső

jani300

Én így tanultam
Gondolkodtam tegnap én is ,ezen az ívelésen . még jó hogy kivártam a végét .

szf

[#eljen]már le sem írom. Napi szinten csinálják elöttem.

sufnituning

Még jó, hogy vannak akik értenek hozzá![#eljen]

Test-áthatás - csőátmenet - szegmensív

De szerintem a szegmensív kifejezés nem konkrétan az átmenet görbületére utal, ha jól gondolom??


Mindjárt itt van 3 kifejezés is!

sufnituning

Még jó, hogy nem a hátad mögött csinálják.[#nyes]

sufnituning

Azt Szeretném kérdezni, "Még jó hogy"-al kezdhetünk-e mondatot??

jani300

Már kezdtél :)
És még a világ sem dőlt össze :)

fn47xk7ei

Igen , helyesebb lenne a szegmens-"ív" kifejezés rá . Emlék ([#worship]): Mikor 19 évesen felvettek a Közmű és Mélyépítő Vállalathoz ( Leninváros , TIFÓ .. de szép is volt[#rinya] )komoly piros pontokat szereztem az öreg  hegesztők körében mert újraszerkesztettem a régi kátránypapírból készült pontatlan szegmens sablonokat jobban használható alu lemezekre .

sufnituning

Ez is jó megoldás! a 2. perctől a lényeg.



sufnituning

De manapság ez a nyerő!
plazmára, lézerre, stb.
evvel a módszerrel 2 x 28 darab csővéget kb 15 perc alatt megcsinálhatsz.

Lehet, hogy ez téged is érdekelni fog.



fn47xk7ei

Jónak jó csak mi 500-as vagy nagyobb csövekkel dolgoztunk , no ott már nehezebb lenne a "pálcás" módszert alkalmazni .. báááár ha ezt gyakorlatot átemeljük ábrázológeometriai rajznak  akkor kiderül , hogy az elv majdnem megegyezik .[#fejvakaras]