Hírek:

Fontos tudnivalók a migrációval kapcsolatban, Kérlek nézd meg a Régi fórumról új fórumra való költözés 

Main Menu

Segítség, béna vagyok!

Indította gaben, 2024 április 09, 15:35

Előző téma - Következő téma

Csuhás

Azért megmondhatnád hogy teszem azt 5mm-es karikákra vagy teljes hosszban fél hengerekre akarod vágni.

GPeti1977

Karikára, azaz ketté kellene vágni.

RJancsi

A papírcsöveket (wc papír guriga) általában körkéses vágógéppel vágják. Kb. 2:00-kor van szó róla.

sastas

Szia!
Ragasztószalag nagykerekkel/kereskedőkkel vedd fel a kapcsolatot. Náluk szokott lenni olyan gép ami erre képes, a legtöbb ragszalag 500mm széles tekercsben készül és azt darabolják igény szerinti szélességűre.

Vetesi75

A vastagfalú göngyöleg papírcsövet - újrahasznosításként   csomagolási célra - , mi gyorsdarabolóval szoktuk vágni.

KoLa

Ha kettévágsz valamit az 50-50% fifti-fifti.
Ha egy hosszab darabból akarsz rövideket vágni azt darabolásnak hívjuk.
50mm átmérőjű papírcsövekből akarok 5mm hosszú gyűrűket darabolni! hogy kell? ez lett volna a kérdés.
Én védem a magyar nyelvet!

svejk

Kérem segítsetek!

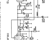
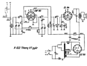
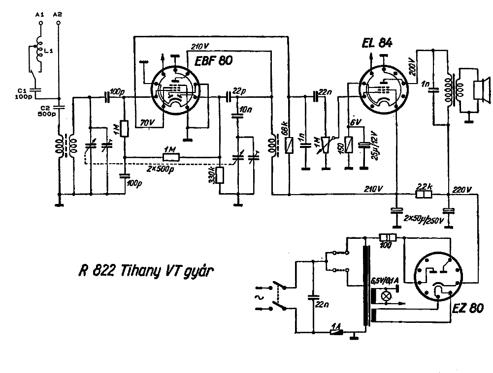
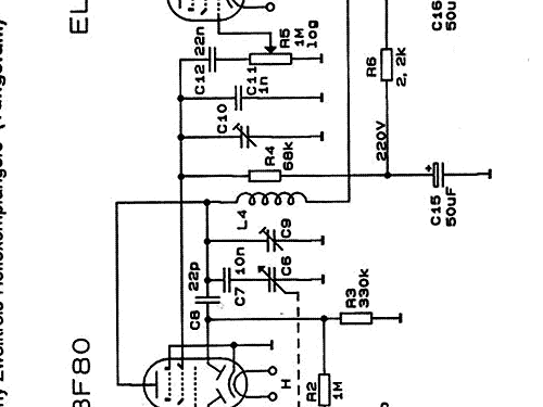
Ezen a rádiomuseumos oldalról le szeretném menteni a Tihany rajzait.

A jobb felső sarokban hiába kattintok az adott oldalra középen csak egy részlet jelenik meg.
Vagy csak nagyon pici méretben tudom lementeni.

Más oldalakról meg van a rajz de az itt látható egy előszűrővel kombinált, no itt nálam a készülékben az van összegubancolva rendesen.

svejk

Ja, hogy regisztrálni kell???

No megtettem, hátha megkapom...


svejk


svejk

De igen, most már a bőség zavara van.

Köszi!

zozo

Ez az aludobozos rádió?  Ebből szokták kihagyni a sasszi meg a ház közti gumi szigetelést (pontosabban a csavar szárának a szigetelését) , aztán fázisra került az egész doboz [#nyes]

PSoft

IdézEz az aludobozos rádió?

Nem!
Ennek, "sütött bakelit" a doboza.(fehér része is, fekete is)

Valamelyik ruszki csöves volt bádogdobozos, abba még kacsintgató varázsszem is van.
Majd előkerítem, mutatok képeket róla a boncolósban. :)

szf

Figyelek!
Muti...
Azt, ha utána kuka akkor adok érte egy szivattyút[#eplus2]

PSoft

Ennyit tesz a jól választott "csali". :)
Így legyen legközelebb kapásom akkor is, ha...horgászni megyek! [#vigyor]